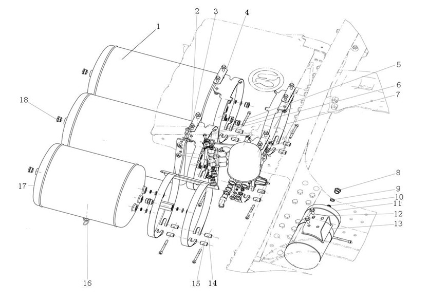
8330010 St. Air Reservoir
Unit8330010Detail

|
Unit8330010Detail |
|||||||
|
Num |
Hot Num |
Diagram No. |
Name |
Quantity |
Vertion |
Disuse Time |
Unit Code |
|
3 |
1 |
WG9000360717 |
Air tank |
002 |
8330010 |
||
|
18 |
2 |
ZQ1841030TF6 |
Hexagon bolts with flange |
008 |
8330010 |
||
|
19 |
3 |
ZQ32010T13F6 |
Hexagon nuts with flange |
008 |
8330010 |
||
|
9 |
4 |
810W97486-0690 |
FISH PLATE |
004 |
8330010 |
||
|
28 |
5 |
Q218B0880 |
Screw |
004 |
8330010 |
||
|
14 |
6 |
810W51715-0046 |
BRACKET |
004 |
8330010 |
||
|
20 |
7 |
WG9900360001 |
Strap assembly |
004 |
8330010 |
||
|
33 |
8 |
WG9000361009 |
Nut |
005 |
8330010 |
||
|
31 |
9 |
WG9000361008 |
Clip |
005 |
8330010 |
||
|
29 |
10 |
WG9000361007 |
Gasket |
005 |
8330010 |
||
|
82 |
11 |
812W51401-0194 |
COMPRESSED-AIR TANK |
001 |
8330010 |
||
|
87 |
12 |
711W51715-5053 |
BRACKET F 4L LUFTKESSEL |
001 |
8330010 |
||
|
97 |
13 |
812W67760-0514 |
CLIP |
001 |
8330010 |
||
|
25 |
14 |
WG700 550013 |
Pin |
004 |
8330010 |
||
|
22 |
15 |
WG09 190017 |
Pin |
004 |
8330010 |
||
|
7 |
16 |
WG9000361402 |
Drain valve |
002 |
8330010 |
||
|
37 |
17 |
WG9000360720 |
Air Reservoir Φ309/30L |
001 |
8330010 |
||
|
35 |
18 |
WG9000361012 |
Plug |
003 |
8330010 |
||
|
41 |
19 |
WG9000361402 |
Drain valve |
001 |
8330010 |
||
|
43 |
20 |
WG9000361007 |
Gasket |
003 |
8330010 |
||
|
45 |
21 |
WG9000361008 |
Clip |
003 |
8330010 |
||
|
47 |
22 |
WG9000361009 |
Nut |
003 |
8330010 |
||
|
49 |
23 |
WG9000361012 |
Plug |
001 |
8330010 |
||
|
51 |
24 |
810W51715-5097 |
BRACKET |
001 |
8330010 |
||
|
67 |
25 |
ZQ1841025TF6 |
Hexagon bolts with flange |
004 |
8330010 |
||
|
68 |
26 |
ZQ32010T13F6 |
Hexagon nuts with flange |
004 |
8330010 |
||
|
69 |
27 |
WG9925933262 |
Washer |
002 |
8330010 |
||
|
71 |
28 |
WG9900360001 |
Strap assembly |
002 |
8330010 |
||
|
73 |
29 |
WG09 190017 |
Pin |
002 |
8330010 |
||
|
76 |
30 |
WG700 550013 |
Pin |
002 |
8330010 |
||
|
79 |
31 |
Q218B0880 |
Screw |
002 |
8330010 |
||
|
85 |
32 |
WG9000361402 |
Drain valve |
001 |
8330010 |
||
|
95 |
33 |
ZQ1841025TF6 |
Hexagon bolts with flange |
002 |
8330010 |
||
|
96 |
34 |
ZQ32010T13F6 |
Hexagon nuts with flange |
002 |
8330010 |
||
|
102 |
35 |
WG09 190017 |
Pin |
001 |
8330010 |
||
|
105 |
36 |
WG700 550013 |
Pin |
001 |
8330010 |
||
|
108 |
37 |
Q218B0880 |
Screw |
001 |
8330010 |
||
|
109 |
38 |
WG9000361007 |
Gasket |
001 |
8330010 |
||
|
111 |
39 |
WG9000361008 |
Clip |
001 |
8330010 |
||
|
113 |
40 |
WG9000361009 |
Nut |
001 |
8330010 |
||
|
115 |
41 |
WG9000361012 |
Plug |
001 |
8330010 |
||
