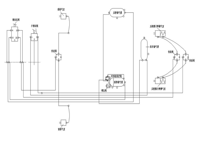
HomeBrake8362597 The principle diagram of the light truck air brake system

Comments are closed.