2200014 Emission Ⅴ Exhaust system(6X4 tractor)
Unit2200014Detail

|
Unit2200014Detail |
|||||||
|
Num |
Hot Num |
Diagram No. |
Name |
Quantity |
Vertion |
Disuse Time |
Unit Code |
|
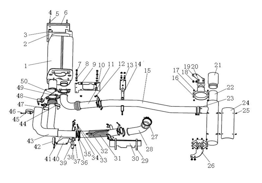
34 |
1 |
712W15101-0036 |
Muffler assembly |
001 |
2200014 |
||
|
44 |
2 |
712W15502-0024 |
Bracket |
001 |
2200014 |
||
|
48 |
3 |
ZQ150B0620 |
Hexagon head bolts |
004 |
2200014 |
||
|
51 |
4 |
WG1608740005 |
Shaped reed nut (M6) |
004 |
2200014 |
||
|
49 |
5 |
WG9925540899 |
Screw |
004 |
2200014 |
||
|
42 |
6 |
712W15101-0018 |
Decorative panel |
001 |
2200014 |
||
|
59 |
7 |
ZQ1811440TF6 |
Hexagon flange bolts with teeth |
004 |
2200014 |
||
|
60 |
8 |
ZQ32514T13F6 |
Hexagon flange nuts with teeth |
004 |
2200014 |
||
|
58 |
9 |
ZQ1811445TF6 |
Hexagon flange bolts with teeth |
002 |
2200014 |
||
|
53 |
10 |
711W15502-5362 |
Muffler bracket assembly |
001 |
2200014 |
||
|
102 |
11 |
712W15204-0023 |
Exhaust pipe |
001 |
2200014 |
||
|
61 |
12 |
ZQ32516T13F6 |
Hexagon flange nuts with teeth |
002 |
2200014 |
||
|
121 |
13 |
712W15502-0129 |
Exhaust pipe hanger |
001 |
2200014 |
||
|
130 |
14 |
WG9931540324 |
Bracket |
001 |
2200014 |
||
|
110 |
15 |
712-15204-0024 |
Exhaust pipe |
001 |
2200014 |
||
|
149 |
16 |
WG9725543008 |
Muffler collar |
002 |
2200014 |
||
|
146 |
17 |
WG9725543007 |
Muffler collar |
002 |
2200014 |
||
|
168 |
18 |
ZQ1811425 |
Hexagon flange bolts with teeth |
004 |
2200014 |
||
|
158 |
19 |
712W15502-0070 |
Exhaust bracket |
001 |
2200014 |
||
|
157 |
20 |
ZQ1841020 |
Hexagon bolts with flange |
008 |
2200014 |
||
|
172 |
21 |
WG9725540268 |
Fireproof cap |
001 |
2200014 |
||
|
138 |
22 |
WG9725543306 |
Muffler |
001 |
2200014 |
||
|
140 |
23 |
712W97420-0004 |
clamp |
001 |
2200014 |
||
|
169 |
24 |
WG9725543009 |
Muffler heat shield |
001 |
2200014 |
||
|
171 |
25 |
ZQ1840820 |
Hexagon bolts with flange |
004 |
2200014 |
||
|
163 |
26 |
712W15502-0071 |
Exhaust bracket |
001 |
2200014 |
||
|
1 |
27 |
MQ6W67419-0004 |
V clamps QRC-9,2X142-W4 |
001 |
2200014 |
||
|
3 |
28 |
812W15204-0001 |
Exhaust tube |
001 |
2200014 |
||
|
177 |
29 |
810W97460-6040 |
Strap assembly |
001 |
2200014 |
||
|
175 |
30 |
711W15110-5339 |
The protection board assembly |
001 |
2200014 |
||
|
7 |
31 |
712W15204-0025 |
Flexible pipe |
001 |
2200014 |
||
|
78 |
32 |
712W15502-0068 |
Bracket |
001 |
2200014 |
||
|
117 |
33 |
ZQ150B0845 |
Hexagon head bolts |
004 |
2200014 |
||
|
118 |
34 |
ZQ340B08 |
Hexagon nuts ,style 1 |
004 |
2200014 |
||
|
23 |
35 |
WG9925540505 |
Gasket |
002 |
2200014 |
||
|
16 |
36 |
712W97420-0010 |
Clamp |
004 |
2200014 |
||
|
71 |
37 |
ZQ1841016 |
Hexagon bolts with flange |
002 |
2200014 |
||
|
67 |
38 |
712W15502-0127 |
exhaust pipe hanger |
001 |
2200014 |
||
|
64 |
39 |
WG84D 410007 |
Cushion |
001 |
2200014 |
||
|
188 |
40 |
712W15502-0050 |
bracket |
001 |
2200014 |
||
|
10 |
41 |
712W15204-0026 |
Exhaust pipe _ urea nozzle seat |
001 |
2200014 |
||
|
30 |
42 |
712-97420-0003 |
clamp |
001 |
2200014 |
||
|
25 |
43 |
712W15204-0017 |
Insulating head cover |
001 |
2200014 |
||
|
74 |
44 |
712W97420-0012 |
Clamp |
002 |
2200014 |
||
|
77 |
45 |
ZQ32010 |
Hexagon nuts with flange |
003 |
2200014 |
||
|
76 |
46 |
ZQ1841030 |
Hexagon bolts with flange |
003 |
2200014 |
||
|
72 |
47 |
712W97420-0011 |
Clamp |
002 |
2200014 |
||
|
90 |
48 |
712W15502-0072 |
Bracket |
001 |
2200014 |
||
|
21 |
49 |
WG9925540504 |
Gasket |
001 |
2200014 |
||
|
13 |
50 |
WG9925540009 |
Clamp |
002 |
2200014 |
||
|
19 |
51 |
ZQ150B0850 |
Hexagon head bolts |
006 |
2200014 |
||
|
20 |
52 |
ZQ340B08 |
Hexagon nuts ,style 1 |
006 |
2200014 |
||
|
32 |
53 |
ZQ1841035 |
Hexagon bolts with flange |
002 |
2200014 |
||
|
33 |
54 |
ZQ32010 |
Hexagon nuts with flange |
002 |
2200014 |
||
|
83 |
55 |
ZQ1841030 |
Hexagon bolts with flange |
003 |
2200014 |
||
|
84 |
56 |
ZQ32010 |
Hexagon nuts with flange |
003 |
2200014 |
||
|
85 |
57 |
810W15502-0050 |
Bracket |
001 |
2200014 |
||
|
87 |
58 |
WG84D 410007 |
Cushion |
001 |
2200014 |
||
|
95 |
59 |
ZQ1841016 |
Hexagon bolts with flange |
002 |
2200014 |
||
|
96 |
60 |
712W97420-0011 |
Clamp |
001 |
2200014 |
||
|
98 |
61 |
712W97420-0012 |
Clamp |
001 |
2200014 |
||
|
100 |
62 |
ZQ1841030 |
Hexagon bolts with flange |
003 |
2200014 |
||
|
101 |
63 |
ZQ32010 |
Hexagon nuts with flange |
003 |
2200014 |
||
|
114 |
64 |
712W97420-0009 |
Stainless steel clamp |
004 |
2200014 |
||
|
119 |
65 |
WG9925540506 |
Gasket |
002 |
2200014 |
||
|
126 |
66 |
WG84D 410007 |
Cushion |
001 |
2200014 |
||
|
129 |
67 |
ZQ1841016 |
Hexagon bolts with flange |
002 |
2200014 |
||
|
132 |
68 |
ZQ1811445TF6 |
Hexagon flange bolts with teeth |
002 |
2200014 |
||
|
133 |
69 |
ZQ32514T13F6 |
Hexagon flange nuts with teeth |
002 |
2200014 |
||
|
134 |
70 |
ZQ1841030 |
Hexagon bolts with flange |
002 |
2200014 |
||
|
135 |
71 |
ZQ32010 |
Hexagon nuts with flange |
002 |
2200014 |
||
|
136 |
72 |
712W97420-0012 |
Clamp |
002 |
2200014 |
||
|
144 |
73 |
ZQ150B1030 |
Hexagon head bolts |
001 |
2200014 |
||
|
145 |
74 |
ZQ340B10 |
Hexagon nuts ,style 1 |
001 |
2200014 |
||
|
152 |
75 |
ZQ1841030 |
Hexagon bolts with flange |
004 |
2200014 |
||
|
153 |
76 |
ZQ32010 |
Hexagon nuts with flange |
004 |
2200014 |
||
|
154 |
77 |
WG84D 410007 |
Cushion |
004 |
2200014 |
||
|
179 |
78 |
712W41615-6030 |
Bracket |
001 |
2200014 |
||
|
183 |
79 |
ZQ1811430TF6 |
Hexagon flange bolts with teeth |
002 |
2200014 |
||
|
184 |
80 |
ZQ32514T13F2 |
Hexagon flange nuts with teeth |
002 |
2200014 |
||
|
192 |
81 |
WG9925541931 |
WIND DEFLECTOR |
001 |
2200014 |
||
|
194 |
82 |
AZ9003980025 |
Hose clamp |
002 |
2200014 |
||
