2010167 Cylinder block assembly
Unit2010167Detail

|
Unit2010167Detail |
|||||||
|
Num |
Hot Num |
Diagram No. |
Name |
Quantity |
Vertion |
Disuse Time |
Unit Code |
|
1 |
1 |
61557010037A |
EGR Post-power cylingder assembly |
001 |
2010167 |
||
|
2 |
2 |
61557010037A/1 |
EGR Post-power cylingder assembly(0001) |
001 |
2010167 |
||
|
3 |
3 |
61557010039A/1 |
Total into to the cylinder assembly |
001 |
2010167 |
||
|
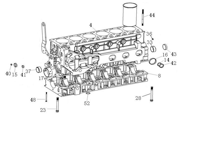
4 |
4 |
AZ1096010021/1 |
Cylinder block |
001 |
2010167 |
||
|
5 |
5 |
AZ1096010021R |
001 |
2010167 |
|||
|
6 |
6 |
AZ1096010021R/1 |
001 |
2010167 |
|||
|
7 |
7 |
AZ1096010021R/2 |
001 |
2010167 |
|||
|
8 |
8 |
61500010366E/1 |
Crankcase |
001 |
2010167 |
||
|
9 |
9 |
VG1500019005 |
Fuel pump bracket |
001 |
2010167 |
||
|
10 |
10 |
VG1500019005/1 |
injection pump bracket |
001 |
2010167 |
||
|
11 |
11 |
VG1500019005/2 |
injection pump bracket |
001 |
2010167 |
||
|
12 |
12 |
VG1500019005/3 |
injection pump bracket |
001 |
2010167 |
||
|
13 |
13 |
VG1500019005/4 |
injection pump bracket |
001 |
2010167 |
||
|
14 |
14 |
190003989289 |
Plug |
004 |
2010167 |
||
|
15 |
15 |
190003982121 |
Plug |
004 |
2010167 |
||
|
16 |
16 |
190003989210 |
Plug |
009 |
2010167 |
||
|
17 |
17 |
190003901604A |
Pin |
002 |
2010167 |
||
|
18 |
18 |
Q5211220 |
Pin |
001 |
2010167 |
||
|
19 |
19 |
Q5211216 |
Pin |
002 |
2010167 |
||
|
20 |
20 |
190003802650 |
Bolt |
002 |
2010167 |
||
|
21 |
21 |
190011350045 |
Bolt |
002 |
2010167 |
||
|
22 |
22 |
190003931142 |
Spring washer |
004 |
2010167 |
||
|
23 |
23 |
VG14010114 |
Bolt |
013 |
2010167 |
||
|
24 |
24 |
VG14010114/2 |
Bolt |
001 |
2010167 |
||
|
25 |
25 |
VG14010114/4 |
Bolt |
001 |
2010167 |
||
|
26 |
26 |
VG14010114/5 |
Bolt |
001 |
2010167 |
||
|
27 |
27 |
VG14010114/6 |
Bolt |
001 |
2010167 |
||
|
28 |
28 |
VG14010217 |
Bolt |
001 |
2010167 |
||
|
29 |
29 |
VG14010217/1 |
Bolt |
001 |
2010167 |
||
|
30 |
30 |
VG14010217/3 |
Bolt |
001 |
2010167 |
||
|
31 |
31 |
VG14010217/4 |
Bolt |
004 |
2010167 |
||
|
32 |
32 |
VG14010217/5 |
Bolt |
001 |
2010167 |
||
|
33 |
33 |
VG1560010029 |
Bushing |
006 |
2010167 |
||
|
34 |
34 |
VG1560010029/1 |
Bushing |
001 |
2010167 |
||
|
35 |
35 |
VG1560010029/2 |
Bushing |
001 |
2010167 |
||
|
36 |
36 |
190003984080 |
Plug |
001 |
2010167 |
||
|
37 |
37 |
VG2600010990 |
Bushing |
001 |
2010167 |
||
|
38 |
38 |
VG2600010990/1 |
Bushing |
001 |
2010167 |
||
|
39 |
39 |
VG2600010990/2 |
Bushing |
001 |
2010167 |
||
|
40 |
40 |
190003989480 |
Plug |
001 |
2010167 |
||
|
41 |
41 |
190003989204 |
Plug |
001 |
2010167 |
||
|
42 |
42 |
190003989215 |
Plug |
004 |
2010167 |
||
|
43 |
43 |
190003989288 |
Plug |
001 |
2010167 |
||
|
44 |
44 |
VG1500010185 |
Bolt |
021 |
2010167 |
||
|
45 |
45 |
VG1500010185/1 |
Bolt |
001 |
2010167 |
||
|
46 |
46 |
VG1500010185/3 |
Bolt |
001 |
2010167 |
||
|
47 |
47 |
VG1500010185/5 |
Bolt |
001 |
2010167 |
||
|
48 |
48 |
190003802493 |
Bolt |
027 |
2010167 |
||
|
49 |
49 |
VG188250083 |
Washer |
027 |
2010167 |
||
|
50 |
50 |
VG188250083/1 |
Washer |
001 |
2010167 |
||
|
51 |
51 |
VG188250083/2 |
Washer |
001 |
2010167 |
||
|
52 |
52 |
VG1400010032 |
Gasket |
002 |
2010167 |
||
|
53 |
53 |
VG1400010032/1 |
Gasket |
001 |
2010167 |
||
|
54 |
54 |
VG1400010032/2 |
Gasket |
001 |
2010167 |
||
|
55 |
55 |
61557010037A/2 |
EGR Post-power cylingder assembly(0000) |
001 |
2010167 |
||
|
56 |
56 |
61557010039A/2 |
Total into to the cylinder assembly |
001 |
2010167 |
||
|
57 |
57 |
AZ1096010021/2 |
Cylinder block |
001 |
2010167 |
||
|
58 |
58 |
AZ1096010021R |
001 |
2010167 |
|||
|
59 |
59 |
AZ1096010021R/1 |
001 |
2010167 |
|||
|
60 |
60 |
AZ1096010021R/2 |
001 |
2010167 |
|||
|
61 |
61 |
61500010366E/2 |
Crankcase |
001 |
2010167 |
||
|
62 |
62 |
VG1500019005 |
Fuel pump bracket |
001 |
2010167 |
||
|
63 |
63 |
VG1500019005/1 |
injection pump bracket |
001 |
2010167 |
||
|
64 |
64 |
VG1500019005/2 |
injection pump bracket |
001 |
2010167 |
||
|
65 |
65 |
VG1500019005/3 |
injection pump bracket |
001 |
2010167 |
||
|
66 |
66 |
VG1500019005/4 |
injection pump bracket |
001 |
2010167 |
||
|
67 |
67 |
190003989289 |
Plug |
004 |
2010167 |
||
|
68 |
68 |
190003982121 |
Plug |
004 |
2010167 |
||
|
69 |
69 |
190003989210 |
Plug |
009 |
2010167 |
||
|
70 |
70 |
190003901604A |
Pin |
002 |
2010167 |
||
|
71 |
71 |
Q5211220 |
Pin |
001 |
2010167 |
||
|
72 |
72 |
Q5211216 |
Pin |
002 |
2010167 |
||
|
73 |
73 |
190003802650 |
Bolt |
002 |
2010167 |
||
|
74 |
74 |
190011350045 |
Bolt |
002 |
2010167 |
||
|
75 |
75 |
190003931142 |
Spring washer |
004 |
2010167 |
||
|
76 |
76 |
VG14010114 |
Bolt |
013 |
2010167 |
||
|
77 |
77 |
VG14010114/2 |
Bolt |
001 |
2010167 |
||
|
78 |
78 |
VG14010114/4 |
Bolt |
001 |
2010167 |
||
|
79 |
79 |
VG14010114/5 |
Bolt |
001 |
2010167 |
||
|
80 |
80 |
VG14010114/6 |
Bolt |
001 |
2010167 |
||
|
81 |
81 |
VG14010217 |
Bolt |
001 |
2010167 |
||
|
82 |
82 |
VG14010217/1 |
Bolt |
001 |
2010167 |
||
|
83 |
83 |
VG14010217/3 |
Bolt |
001 |
2010167 |
||
|
84 |
84 |
VG14010217/4 |
Bolt |
004 |
2010167 |
||
|
85 |
85 |
VG14010217/5 |
Bolt |
001 |
2010167 |
||
|
86 |
86 |
VG1560010029 |
Bushing |
006 |
2010167 |
||
|
87 |
87 |
VG1560010029/1 |
Bushing |
001 |
2010167 |
||
|
88 |
88 |
VG1560010029/2 |
Bushing |
001 |
2010167 |
||
|
89 |
89 |
190003984080 |
Plug |
001 |
2010167 |
||
|
90 |
90 |
VG2600010990 |
Bushing |
001 |
2010167 |
||
|
91 |
91 |
VG2600010990/1 |
Bushing |
001 |
2010167 |
||
|
92 |
92 |
VG2600010990/2 |
Bushing |
001 |
2010167 |
||
|
93 |
93 |
190003989480 |
Plug |
001 |
2010167 |
||
|
94 |
94 |
190003989204 |
Plug |
001 |
2010167 |
||
|
95 |
95 |
190003989215 |
Plug |
004 |
2010167 |
||
|
96 |
96 |
190003989288 |
Plug |
001 |
2010167 |
||
|
97 |
97 |
VG1500010185 |
Bolt |
021 |
2010167 |
||
|
98 |
98 |
VG1500010185/1 |
Bolt |
001 |
2010167 |
||
|
99 |
99 |
VG1500010185/3 |
Bolt |
001 |
2010167 |
||
|
100 |
100 |
VG1500010185/5 |
Bolt |
001 |
2010167 |
||
|
101 |
101 |
190003802493 |
Bolt |
027 |
2010167 |
||
|
102 |
102 |
VG188250083 |
Washer |
027 |
2010167 |
||
|
103 |
103 |
VG188250083/1 |
Washer |
001 |
2010167 |
||
|
104 |
104 |
VG188250083/2 |
Washer |
001 |
2010167 |
||
|
105 |
105 |
VG1400010032 |
Gasket |
002 |
2010167 |
||
|
106 |
106 |
VG1400010032/1 |
Gasket |
001 |
2010167 |
||
|
107 |
107 |
VG1400010032/2 |
Gasket |
001 |
2010167 |
||
